各人都在搜:运送机械装备滚筒运送机托辊运送装备
各人都在搜:运送机械装备滚筒运送机托辊运送装备
一、概述:
电动滚筒作为皮带运送机和提升等装备的动力。普遍用于矿山、冶金、化工、煤炭、建材、电力、粮食及交通运输等部分。9博体育运送生产的电动滚筒主要有定轴齿轮、行星齿轮、摆线针轮三种传动形式,装置形式电机内置、外置和移动式,电机内置时有油冷和油浸两种形式,由于电动滚筒与一样平常的减速机构相比,具有结构紧凑、重量轻、密封性好、装置利便等优点,深得客户的接待。
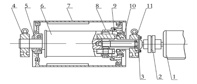
二、形状图:
1、电机,2、联轴器,3、毡圈,4、支座体,5左端盖,6、输入轴,7、滚筒体,8、低速级行星轮,9、齿圈,10、高速级行星轮,11、支座体
三、 滚筒的外貌覆面:
外貌有裸露光钢面,平滑橡胶、人字形橡胶和菱形花纹橡胶覆面四种。
四、我厂生产的电动滚筒主要是:
TDY75型油冷式电动滚筒;DY1、JYD型移动电动滚筒;YZ型摆线针轮电动滚筒;YTW型外装式减速滚筒以及种种非标电动滚筒。

(1)TDY75型油冷式电动滚筒接纳牢靠式胶带机的内驱动装置,其内部接纳定轴齿轮二级传动,属于老产品,但用途普遍,与减速机相较量,具有占地小、重量轻、外观整齐、效率高,普遍使用在粉尘、湿润泥泞的卑劣情形中。
(2)YZ型摆线针轮电动滚筒内部接纳摆线针轮传动,是由一级硬齿面的针齿壳输出的摆线针轮减速机构,摆线轮、针齿等接纳轴承钢制造,硬度抵达HRC58-62,具有承载能力大、过载能力强、传动平稳、噪音低、寿命长等优点。
(3)外装式电动滚筒是将通俗电动滚筒中的电念头移出来外接,筒体内仍有减速机构,它是介于古板电机-减速机-传动滚筒的开式传动与通俗电动滚筒驱动之间的一种运送机驱动装置。
首先,它具有优异的散热性,并且容易对电机举行维修或替换。
其次,在占有空间位置和制造质料方面,均比开式传动镌汰三分之一左右,但又比通俗电动滚筒增添三分之一左右。外装式电动滚筒,由于电机散热的优点,在某些大功率场合照旧较量合适的驱动。
五、电动滚筒功率的盘算:
关于运送机械所需要的驱动功率的盘算公式,在许多设计手册中都有这样的详细先容,驱动功率通常的由三部分组成,即:运送机空运转时所需要的功率,运送机水平运送负荷时所需要的功率和运送机提升负荷时所需要的功率。
为了使电动滚筒的设计盘算与用户的使用要求统一起来,9博体育运送推荐接纳下列公式盘算:
P= C x F x L(3.6Gm x Qt) + Qt x H
3 6 7 3 6 7
式中:
P---电动滚筒的轴功率
c---运送带、轴承等处的阻力系数,数值可从表中查到
f---托辊的阻力系数,f=0.025~0.030
L---运送机的电动滚筒与改向滚筒之间中心距的水平投影(m)
Gm---运送带、托辊、该向滚筒等旋转零件的重量,数值可从表4中查到(kg/m)
V---带速(M/S)
Qt---运送量(T/h)
H---运送高度(m)
B---带宽(mm)
电动滚筒的按钮可按下列公式盘算:式中:M------扭矩(Nm) D---滚筒直径(m) P---功率(KW) V---带速(m/sec)
M = 500 x D x P
V
以上数据仅供参考,若有需求请致电本公司
六、电动滚筒选型注重事项:
凭证上述公式盘算出的电动滚筒功率在下列情形下需要举行修正:
(1)电动滚筒天天连写事情凌驾8小时,点击功率需提高一档;
(2)筒体包胶的电动滚筒,点击功率应提高一档;
(3)启动频仍的电动滚筒,点击功率应提高一档。
七:电动滚筒使用注重事项:
(1)使用前应检查滚筒内部油量,油量以滚筒直径的2/5为宜;检查电机接线是否准确(注:滚筒出厂时为无油状态)。
(2)滚筒须空载启动。
(3)滚筒事情300小时后替换润滑油(润滑油牌号:油冷式加N46号,油浸式加N32号汽轮机油)以后每隔5000小时换油一次并举行保养维修。
(4)按期检查油位,凭证密封情形调解油封弹簧或替换油封。
(5)电动滚筒电器线路中应装置相配套的过载,缺相运行等;ぷ爸,阻止因电路故障烧坏点击,造成损失。
(6)电动滚筒应当水平装置,倾角不凌驾5°。
(7)电动滚筒事情的情形温度应位-10°至40℃,物料温度小于60℃,海拔高度不要凌驾1000米,若是事情情形凌驾上述规模,请与生产厂联系解决。
9博体育有专业的设计团队、合理的生产流程、完善的检测历程、优异的售后效劳,以此打造出江苏9博体育品质。公司现在已贯彻ISO9001:2008质量系统认证,并严酷凭证其要求举行规范治理,确保每只产品及格出厂。产品现在已远销西班牙,德国,智利,中东等国,其质量深受主顾好评。咨询QQ:1210189900.还可以关注我们
微信公众号:sjssjx
9博体育官方网站: http://www.sjssjx.com
9博体育阿里巴巴官方网站: http://jssjssjx.1688.com
0510-86179580
0510-68823303